|
|
| |
LC系列列管式冷却器(1.6MPa) |
| 一、概述 |
| 本系列产品在综合国内外先进技术的基础上,自行设计制造的新产品,具有体积小,散热面积大,使用寿命长,维修方便,工作可靠等优点。适用于冶金、矿山、机电、轻工、纺工、食品和其它工业部门的稀油润滑系统和液压系统中的冷却之用。 |
| 二、技术参数 |
|
| 三、型号说明 |
|
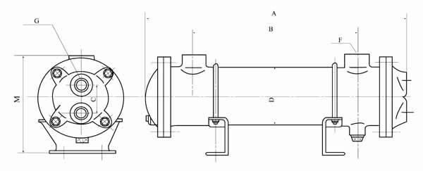
| 四、外形尺寸 |
|
型 号 |
A |
B |
C |
D |
M |
F |
G |
LC1-0.4L/L |
396 |
240 |
40 |
88.5 |
152 |
G1 |
G3/4 |
LC1-0.6L/L |
561 |
405 |
40 |
88.5 |
152 |
G1 |
G3/4 |
LC1-0.8L/L |
688 |
532 |
40 |
88.5 |
152 |
G1 |
G3/4 |
LC1-1.0L/L |
821 |
665 |
40 |
88.5 |
152 |
G1 |
G3/4 |
LC1-1.2L/L |
961 |
805 |
40 |
88.5 |
152 |
G1 |
G3/4 |
LC1-1.3L/L |
561 |
374 |
80 |
133 |
218 |
G1 |
G1 |
LC1-1.7L/L |
687 |
500 |
80 |
133 |
218 |
G1 |
G1 |
LC1-2.1L/L |
821 |
634 |
80 |
133 |
218 |
G1 |
G1 |
LC1-2.6L/L |
963 |
776 |
80 |
133 |
218 |
G1 |
G1 |
LC1-3.0L/L |
1113 |
926 |
80 |
133 |
218 |
G1 |
G1 |
LC1-3.5L/L |
1271 |
1084 |
80 |
133 |
218 |
G1 |
G1 |
LC-1.0L/L |
367 |
160 |
80 |
133 |
218 |
G1 |
G1 |
LC-1.6L/L |
547 |
340 |
80 |
133 |
218 |
G1 |
G1 |
LC-2.5L/L |
747 |
540 |
80 |
133 |
218 |
G1 |
G1 |
LC-3.2L/L |
917 |
710 |
80 |
133 |
218 |
G1 |
G1 |
LC-4.0L/L |
1117 |
910 |
80 |
133 |
218 |
G1 |
G1 |
LC-5.0L/L |
1271 |
1064 |
80 |
133 |
218 |
G1 |
G1 |
LC2-6.0L/L |
1090 |
870 |
128 |
219 |
309 |
G2 |
G1/2 |
LC2-7.2L/L |
1260 |
1040 |
128 |
219 |
309 |
G2 |
G1/2 |
LC2-8.5L/L |
1302 |
1280 |
128 |
219 |
309 |
G2 |
G1/2 |
LC2-10L/L |
1750 |
1530 |
128 |
219 |
309 |
G2 |
G1″/2 |
|
| |
|
|